懂车周报|蔚来eT7上市、马斯克成全球首富、商务部促大宗消费( 三 )
文章插图
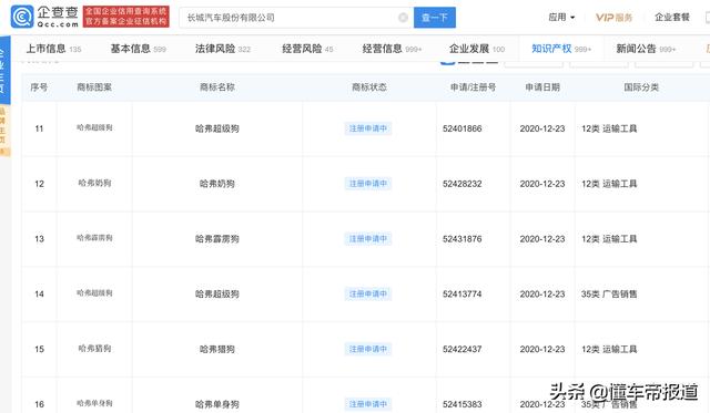
十、长城哈弗注册多个“狗”类商标
上周 , 懂车帝通过“企查查”查询发现 , 长城汽车正在申请注册多个名称中带狗的商标 。 据了解 , 长城汽车这批在2020年12月23日集中申请的“狗类”商标 , 共包含:哈弗单身狗、哈弗好大狗、哈弗超级狗、哈弗遛狗、哈弗霹雳狗、哈弗奶狗、哈弗小狗、哈弗猎狗 。 目前商标状态均为“注册申请中” 。 2020年6月 , 长城哈弗品牌内部代号为B06的全新紧凑型SUV车型正式定名为哈弗大狗 。 长城汽车表示 , 该名称是从全球网友征名票选中获得 。 哈弗大狗从命名到上市 , 持续引发外界关注 , 让这款新车仅凭姓名就成功“出圈” , 做到了一般新车梦寐以求的传播效果 。
文章插图
车企人事动态:十一、大众安徽管理团队任命
1月5日 , 大众汽车(安徽)有限公司(原江淮大众)正式任命全新管理团队 。 大众汽车集团(中国)CEO冯思翰博士被任命为大众汽车(安徽)有限公司首席执行官 , 穆勇博士出任首席财务官 , 吕尔曼博士出任首席技术官 , 施耐德出任首席制造官 , 邵剑出任首席人力资源官 。 2020年12月8日 , 大众(安徽)汽车有限公司正式揭牌 , 大众在安徽的纯电动汽车生产基地也正式投建 , 该基地规划年产能为35万辆 , 首款车型计划于2023年投产 。
文章插图
十二、广汽蔚来CEO廖兵即将离职
1月7日 , 有消息人士向媒体透露 , 在当天下午举行的广汽蔚来全员会议上 , 公司CEO廖兵公布了自己即将离开的消息 。 而内部人士则表示“一切以官方消息为准” 。 值得一提的是 , 广汽蔚来在不久前刚刚传出好消息 , 1月5日 , 广汽集团发布公告称 , 同意合营公司广汽蔚来通过引入战略投资者实施增资扩股方案并签署增资扩股相关的协议 , 共计增资约24.05亿元 , 完成增资后广汽集团及广汽埃安合计持有广汽蔚来新能源汽车科技有限公司25%股权 。
文章插图
十三、法拉第未来新任首席财务官到岗
1月5日 , 法拉第未来(FF)宣布 , 任命Zvi Glasman为新任首席财务官 , 他将作为FF领导团队的重要成员 , 负责领导公司财务、投资者关系和资本管理 , 并将成为FF内部各主要业务委员会的成员 。 据官方介绍 , Zvi Glasman拥有30多年的专业经验和近20年担任CFO的经验 , 他在制定和执行财务战略和运营计划以支持快速增长和提高盈利能力方面有着良好的记录 。 履新后 , Zvi Glasman将直接向FF全球首席执行官毕福康汇报 。
文章插图
新一周重点事件预告:本周中汽协和乘联会将分别公布2020年我国汽车工业运行数据以及乘用车市场相关数据 。 中国电动汽车百人会论坛(2021)将于1月15日至17日召开 。
文章插图
【懂车周报|蔚来eT7上市、马斯克成全球首富、商务部促大宗消费】另外 , 智己汽车品牌发布会将于本周在上海举行 。 新车方面 , 哈弗初恋将于1月11日迎来上市 , 比亚迪DM-i平台暨新车预售发布会也将于同日举行 。
推荐阅读
- 蔚来:没钱,也可以为所欲为
- 即便是续航超1000KM,蔚来ET7依然有里程焦虑症
- 不想与特斯拉竞争,却处处与之对比,蔚来想靠高端人设多卖点钱?
- 不会再买燃油车?蔚来纯电车太方便了,续航上千公里超越特斯拉
- 续航超1000公里!蔚来推出新车,售价却遭网友吐槽
- 新车 | 迭代产品矩阵 比亚迪三款DM车型同步预售
- 蔚来新车将搭载固态电池,新能源汽车迎变局?相关概念股受关注丨行业风口
- 谁是蔚来汽车固态电池供应商?| 燕说车市
- 关于蔚来ET7,你想知道的一切都在这了!
- 关注|宁德时代回应蔚来固态电池包供应商传闻:有能力持续领先
